Wer Informationen zu einem AVR-Microntroller veröffentlichen will, kann es hier gerne machen (bitte mit Pinbelegung
Also ich fange mit dem Atmega8 an:
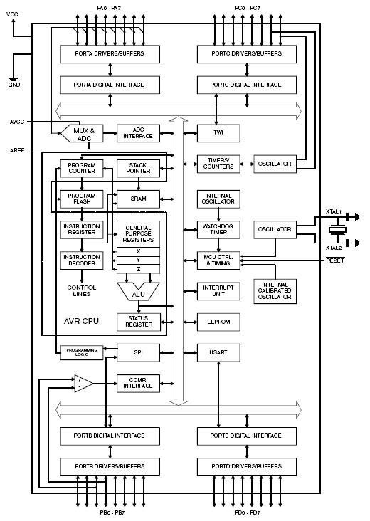
Atmege8
Betriebsspannung: 4,5 – 5,5 Volt (Atmega8) und 2,7-5,5 Volt (Atmega8L)
Max. Takt: 16 Mhz (Atmega8-16) und 8 Mhz (Atmega8L-8 )
Standardmäßig ist der integrierne Oszillator mit 1 Mhz aktiviert
Dadurch braucht man keine externen Bauteile (Quarz/Quarzoszillator) und man hat zwei zusätzliche I/Os mehr.
Jedoch muss man ergänzen dass der Interne Oszillator nicht sehr genaut arbeitet und je nach Temperatur unterschiedlich schwingt
Für einfache Anwendungen reicht das
Möchte man den Microcontroller z.B. mit 16 Mhz betreiben, so muss man einen externen Quarz mit 16 Mhz dranhängen
Wenn man einen externen Taktgeber angeschlossen, so muss man die "Fuse Bits" ändern (ansonsten arbeitet er mit dem Internen 1 Mhz).
Fuse Bits
Fuse Bits sind im Prinzip Grundeinstellungen. Genau wie beim PC der Bios, wo die Grundeinstellungen eingestellt wereden. Über das Einstellen der Fuse Bits werden ich noch genauer schreiben.
Im Bild, die Pinbelegung des Atmega8
Demnach sind die gelb markierten Pins als I/Os verfügbar und das wäre:
PB0-PB5, PC0-PC5, PD0-PD7
Die rot markierten Pins sind auch als I/Os verfügbar, nur wenn kein externer Taktgeber verwendet wird.
Also sprich PB6 und PB7, ansonsten hängt der externe Taktgeber an diesen 2 Pins.






